1級電気工事施工管理技士 過去問
令和7年度(2025年)
問51 (午前 ニ 問7)
問題文
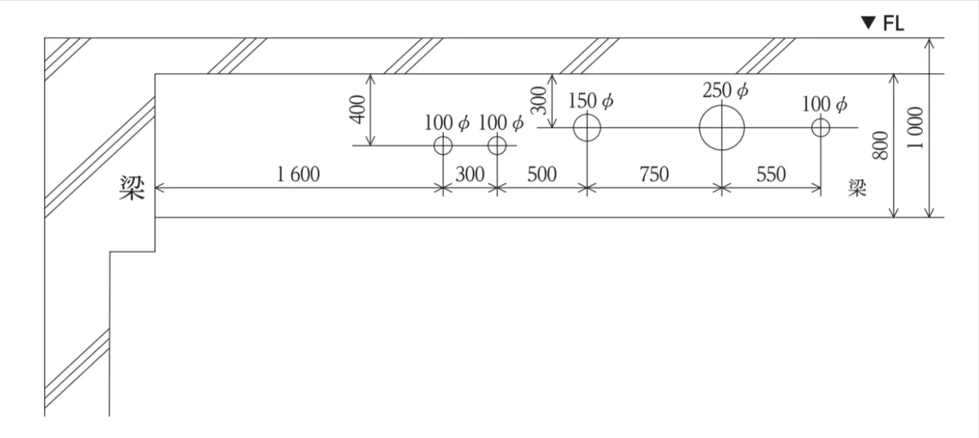
鉄筋コンクリート構造の建築物における梁貫通を示す図として、最も不適当なものはどれか。
このページは閲覧用ページです。
履歴を残すには、 「新しく出題する(ここをクリック)」 をご利用ください。
問題
正解!素晴らしいです
残念...
MENU
あ
か
さ
た
な
は
ま
や
ら
あん摩マッサージ指圧師
1級管工事施工管理技士
1級建築施工管理技士
1級電気工事施工管理技士
1級土木施工管理技士
運行管理者(貨物)
2級ファイナンシャル・プランニング技能士(FP2級)
3級ファイナンシャル・プランニング技能士(FP3級)
貸金業務取扱主任者
危険物取扱者(乙4)
給水装置工事主任技術者
クレーン・デリック運転士
ケアマネジャー(介護支援専門員)
国内旅行業務取扱管理者
社会保険労務士(社労士)
大学入学共通テスト(国語)
大学入学共通テスト(地理歴史)
大学入学共通テスト(公民)
大学入学共通テスト(数学)
大学入学共通テスト(理科)
大学入学共通テスト(情報)
大学入学共通テスト(英語)
第三種電気主任技術者(電験三種)
宅地建物取引士(宅建士)
調剤報酬請求事務技能認定
賃貸不動産経営管理士
2級管工事施工管理技士
2級建築施工管理技士
2級電気工事施工管理技士
2級土木施工管理技士
JLPT(日本語能力)
建築物環境衛生管理技術者(ビル管理士)
問題文
このページは閲覧用ページです。
履歴を残すには、 「新しく出題する(ここをクリック)」 をご利用ください。
正解!素晴らしいです
残念...
この過去問の解説 (2件)
01
鉄筋コンクリート構造の建築物における梁貫通を示す図に関する問題です。
梁貫通には次の制限があります。
1) 梁貫通孔の径は、梁せい(図のH)の1/3以下とします。
2) 梁貫通孔の上下方向の位置は、梁せいの中心付近とし、梁の上下端からの距離を図のとおりとします。
3) 梁貫通孔の中心位置は、柱や直交する梁の面から、梁せいHの1.2倍以上とします。
4) 梁貫通孔が並列するときは、その中心間隔は孔の径の平均径の3倍以上とします。
共通
・図からH=1000なので、孔の中心位置は、h≧250 となります。
・柱や直交する梁の面から孔までの距離は、1.2H=1200 です。
正
梁貫通孔の径、孔径、柱や直交する梁の面から孔までの距離は、条件通りの値です。
正
梁貫通孔の径、孔径、柱や直交する梁の面から孔までの距離は、条件通りの値です。
誤
梁貫通孔の径、柱や直交する梁の面から孔までの距離は、条件通りの値ですが、
350φの穴は、H×1/3=333以下から外れるため、条件外です。
正
梁貫通孔の径、孔径、柱や直交する梁の面から孔までの距離は、条件通りの値です。
参考になった数18
この解説の修正を提案する
02
建築物における梁貫通に関する問題となります。
梁に貫通孔を設ける場合の注意点は以下となります。
①貫通孔の中心位置は柱および直交するはりの面から原則としてはりせいの1.5倍以上を離し、高さははりせいの中心付近とすること。
②管の外径より40㎜程度大きくし、保温を行うものは保温材の厚さを加味し、孔の径ははりせいの1/3以下とすること。
③貫通孔が並列する際は中心間隔を2つの貫通孔平均値の3倍以上離すこと。
以上を踏まえた上で、梁貫通を示す図として誤っているものを選択しましょう。
こちらは正しいです。
・注意点①のはりせいの1.5倍以上はクリア(はりせいから1700㎜離れている)
・注意点③の貫通孔が並列する際の中心間隔はクリア(貫通孔平均値の3倍以上)
・注意点②の孔の径ははりせいの1/3以下にいずれの貫通孔も対応してます。
こちらは正しいです。
・注意点①のはりせいの1.5倍以上はクリア(はりせいから1700㎜離れている)
・注意点③の貫通孔が並列する際の中心間隔はクリア(貫通孔平均値の3倍以上)
・注意点②の孔の径ははりせいの1/3以下にいずれの貫通孔も対応してます。
こちらは誤りです。
・注意点①のはりせいの1.5倍以上はクリア(はりせいから1700㎜離れている)
・注意点③の貫通孔が並列する際の中心間隔はクリア(貫通孔平均値の3倍以上)
・注意点②の孔の径ははりせいの1/3以下は350φの貫通孔はH=333㎜以上となるのでこちらはクリアできていません。
こちらは正しいです。
・注意点①のはりせいの1.5倍以上はクリア(はりせいから1700㎜離れている)
・注意点③の貫通孔が並列する際の中心間隔はクリア(貫通孔平均値の3倍以上)
・注意点②の孔の径ははりせいの1/3以下にいずれの貫通孔も対応してます。
貫通孔の補強材は径がはりせいの1/10以下、かつ150㎜未満の場合は補強を省略することができます。
参考になった数6
この解説の修正を提案する
前の問題(問50)へ
令和7年度(2025年) 問題一覧
次の問題(問52)へ